MODELO DESCATALOGADO
Disponible con recargo de precio y un plazo de entrega mayor.
Para nuevos diseños se recomienda el uso de la cadena portacables serie 10 mini. En caso de cualquier duda, póngase en contacto con igus®. Gracias por su comprensión.
Cadena portacables serie 10 mini
Aquí puede configurar su sistema de cadenas portacables. Todos los datos introducidos y todas las modificaciones se transfieren a la lista de piezas que se encuentra al final de la página.
Serie 10 - cadena portacables sin sistema de apertura
1. Pequeños pasos para operaciones extremadamente exactas (33 eslabones/m)
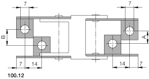
Anchuras interiores disponibles Bi: 15 a 50 mm
Radios de curvatura disponibles R: 28 a 180 mm
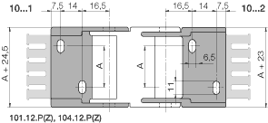
Paso: 30,5 mm por eslabón = 33 eslabones/m
A= Extremo móvil, B= Extremo fijo
Paso: 30,5 mm
Eslabones por metro: 33
Longitud de la cadena = S/2 + K