Cambiar idioma :
El diseño de esta bandeja de soporte emula el abrevadero de aluminio igus®. Este kit de construcción flexible cubre los tamaños estándar de nuestras e-chains®. La bandeja de soporte de aluminio es adecuada para las Series E2/000, E4-21/E4-28/E4-32 y E6-29/E6-35/E6-40. Debido a su ajuste de ancho flexible a través de kits de montaje con perfiles en C, la bandeja de soporte se puede usar con todos los e-chain® con anchos exteriores de 2.17 pulgadas y mayores. Se pueden usar juegos de instalación estándar, al igual que para el abrevadero de aluminio. Los módulos de plástico de extremo fijo también se pueden utilizar aquí
.

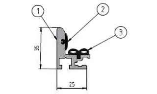
El* perfil silenciador incorporado significa que e-chain® funciona silenciosamente
integrar como opción Áreas de aplicación potenciales:

La parte lateral de la bandeja de soporte súper aluminio consta de un perfil de aluminio. Perfil

Haga clic para ampliar
Ya sea que esté interesado en soluciones integrales y completamente ensambladas o que esté buscando construir su propio proyecto personalizable, permítanos ayudarlo con una solución basada en su aplicación y requerimientos específicos. ¡Contáctenos a través del siguiente formulario o llámenos al (800) 521-2747 para discutir su
proyecto hoy!

Servicio al Cliente:
Teléfono: De lunes a viernes, de 8:00 a 20:00
Chat en vivo: 24 horas